




![]() |
|||||||||
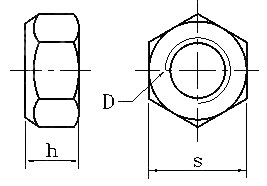
| 單位:mm | |||||||||
| 公稱直徑 D |
螺距 P |
h | s | ||||||
| max | min | max | min | ||||||
| M3 | 0.5 | 4 | 3.7 | 5.3 | 4.92 | ||||
| M4 | 0.7 | 5 | 4.5 | 7 | 6.78 | ||||
| M5 | 0.8 | 5.3 | 4.8 | 8 | 7.78 | ||||
| M6 | 1 | 5.9 | 5.4 | 10 | 9.78 | ||||
| M8 | 1/1.25 | 7.1 | 6.44 | 13 | 12.73 | ||||
| M10 | 1/1.25/1.75 | 9 | 8.04 | 16 | 15.73 | ||||
| M12 | 1.25/1.5/1.75 | 11.6 | 10.37 | 18 | 17.73 | ||||
| M14 | 1.5/2 | 13.2 | 12.1 | 21 | 20.67 | ||||
| M16 | 1.5/2 | 15.2 | 14.1 | 24 | 23.67 | ||||
| M18 | 1.5/2/2.5 | 17 | 15.01 | 27 | 26.16 | ||||
| M20 | 1.5/2/2.5 | 19 | 16.9 | 30 | 29.16 | ||||
| M22 | 1.5/2/2.5 | 21 | 18.1 | 34 | 33 | ||||




| 化學成分,%,max | ||||||||||
| 組別 | C | Si | Mn | P | S | Cr | Mo | Ni | Cu | 特性 |
| 304-A2 | 0.1 | 1 | 2 | 0.05 | 0.03 | 15-20 | 8-19 | 4 |
加工硬化率適中,適于一般的冷間加工以及伸抽,冷加工性能較好,普遍用于外六角螺釘、螺母以及墊圈產品 |
|
| 316-A4 | 0.08 | 1 | 2 | 0.045 | 0.03 | 16-18.5 | 2-3 | 10-15 | 1 |
加鉬,耐腐蝕能力較304強,特別適用于海水及化學介質,更加的耐腐蝕性及耐孔蝕性。 |
|
注: 1)如鎳含量低于8%,則錳的最小含量必須為5% |
||||||||||
| 機械性能 | |||||||||||
| 類別 | 組別 | 性能等級 | 螺絲直徑 | 抗拉強度mpa/mm2 | 規定非比列伸長應為mpa/mm2 | 斷后伸長量mpa/mm2 | |||||
| 奧氏體 | A2,A4 | 50 |
≤ 39 |
500 | 210 | 0.6d | |||||
| 70 |
≤ 24 |
700 | 450 | 0.4d | |||||||
| 80 |
≤ 24 |
800 | 600 | 0.3d | |||||||
| 上一篇:304不銹鋼金屬鎖緊螺母 金屬自鎖螺母 防松螺帽M3 |
| 下一篇:返回列表 |




