









![]() |
|||||||
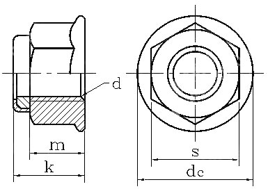
| 單位:mm | |||||||
| 公稱直 徑d |
螺距P | dc max |
k | m min |
S | ||
| max | min | max | min | ||||
| M5 | 0.8 | 11.8 | 7.1 | 6.74 | 4.7 | 8 | 7.78 |
| M6 | 1 | 14.2 | 9.1 | 8.74 | 5.7 | 10 | 9.78 |
| M8 | 1/1.25 | 17.9 | 11.1 | 10.67. | 7.6 | 13 | 12.73 |
| M10 | 1/1.25/1.5 | 21.8 | 13.5 | 13.07 | 9.6 | 15 | 14.73 |
| M12 | 1.25/1.5/1.75 | 26 | 16.1 | 15.67 | 11.6 | 18 | 17.73 |
| M14 | 1.5/2 | 29.9 | 18.2 | 17.68 | 13.3 | 21 | 20.67 |
| M16 | 1.5/2 | .34.5 | 20.3 | 19.46 | 15.3 | 24 | 23.67 |
| M20 | 1.5/2.5 | 42.8 | 24.8 | 23.96 | 18.9 | 30 | 29.16 |






| 化學成分,%,max | ||||||||||
| 組別 | C | Si | Mn | P | S | Cr | Mo | Ni | Cu | 特性 |
| 304-A2 | 0.1 | 1 | 2 | 0.05 | 0.03 | 15-20 | 8-19 | 4 |
加工硬化率適中,適于一般的冷間加工以及伸抽,冷加工性能較好,普遍用于外六角螺釘、螺母以及墊圈產品 |
|
| 316-A4 | 0.08 | 1 | 2 | 0.045 | 0.03 | 16-18.5 | 2-3 | 10-15 | 1 |
加鉬,耐腐蝕能力較304強,特別適用于海水及化學介質,更加的耐腐蝕性及耐孔蝕性。 |
|
注: 1)如鎳含量低于8%,則錳的最小含量必須為5% |
||||||||||
| 機械性能 | |||||||||||
| 類別 | 組別 | 性能等級 | 螺絲直徑 | 抗拉強度mpa/mm2 | 規定非比列伸長應為mpa/mm2 | 斷后伸長量mpa/mm2 | |||||
| 奧氏體 | A2,A4 | 50 |
≤ 39 |
500 | 210 | 0.6d | |||||
| 70 |
≤ 24 |
700 | 450 | 0.4d | |||||||
| 80 |
≤ 24 |
800 | 600 | 0.3d | |||||||
| 上一篇:304不銹鋼防松螺母316鎖緊螺母防滑螺母 |
| 下一篇:304六角帶墊法蘭尼龍防松螺母/鍍鋅防滑鎖緊螺帽M3 |




