
![]() |





![]() |
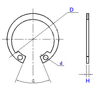
|||||||||
| 單位:mm | |||||||||
| 規格Φ | 外徑D | 厚度H | 內孔d | 角度α | 規格Φ | 外徑D | 厚度H | 內孔d | 角度α |
| Φ8 | 8.64 | 0.56 | 1 | 45° | Φ34 | 36.45 | 1.5 | 2.5 | 45° |
| Φ9 | 9.8 | 0.58 | Φ35 | 37.35 | 1.5 | ||||
| Φ10 | 11 | 0.74 | 1.5 | Φ36 | 38.9 | 1.5 | |||
| Φ11 | 12 | 0.8 | Φ37 | 39.8 | 1.5 | ||||
| Φ12 | 13 | 0.9 | Φ38 | 41.65 | 1.5 | ||||
| Φ13 | 14.2 | 0.94 | 1.7 | Φ39 | 42.6 | 1.5 | |||
| Φ14 | 15 | 1 | Φ40 | 43.8 | 1.5 | ||||
| Φ15 | 16.1 | 1 | Φ42 | 45.6 | 1.5 | 3 | |||
| Φ16 | 17.4 | 1 | Φ45 | 48.9 | 1.5 | ||||
| Φ17 | 18.4 | 1 | Φ47 | 51.5 | 1.5 | ||||
| Φ18 | 19.4 | 1 | Φ48 | 51.8 | 1.5 | ||||
| Φ19 | 20.6 | 1 | 2 | Φ50 | 53.6 | 2 | |||
| Φ20 | 21.36 | 1 | Φ52 | 55.9 | 2 | ||||
| Φ22 | 23.5 | 1 | Φ55 | 59.1 | 2 | ||||
| Φ24 | 25.9 | 1.2 | Φ58 | 62.3 | 2 | 36° | |||
| Φ25 | 26.7 | 1.2 | Φ60 | 64.5 | 2 | ||||
| Φ26 | 27.64 | 1.2 | Φ62 | 65.9 | 2 | ||||
| Φ28 | 30.2 | 1.2 | Φ65 | 69.3 | 2.5 | ||||
| Φ30 | 32.7 | 1.2 | Φ68 | 72.4 | 2.5 | ||||
| Φ32 | 34.3 | 1.2 | 2.5 | ||||||



| 化學成分,%,max | ||||||||||
| 組別 | C | Si | Mn | P | S | Cr | Mo | Ni | Cu | 特性 |
| 304-A2 | 0.1 | 1 | 2 | 0.05 | 0.03 | 15-20 | 8-19 | 4 |
加工硬化率適中,適于一般的冷間加工以及伸抽,冷加工性能較好,普遍用于外六角螺釘、螺母以及墊圈產品 |
|
| 316-A4 | 0.08 | 1 | 2 | 0.045 | 0.03 | 16-18.5 | 2-3 | 10-15 | 1 |
加鉬,耐腐蝕能力較304強,特別適用于海水及化學介質,更加的耐腐蝕性及耐孔蝕性。 |
|
注: 1)如鎳含量低于8%,則錳的最小含量必須為5% |
||||||||||
| 機械性能 | |||||||||||
| 類別 | 組別 | 性能等級 | 螺絲直徑 | 抗拉強度mpa/mm2 | 規定非比列伸長應為mpa/mm2 | 斷后伸長量mpa/mm2 | |||||
| 奧氏體 | A2,A4 | 50 |
≤ 39 |
500 | 210 | 0.6d | |||||
| 70 |
≤ 24 |
700 | 450 | 0.4d | |||||||
| 80 |
≤ 24 |
800 | 600 | 0.3d | |||||||
| 上一篇:304不銹鋼孔用彈性擋圈 內卡卡簧 C型卡簧 GB893擋圈 M6 |
| 下一篇:返回列表 |





